Новости отрасли
Дом / Новости / Новости отрасли / Почему вихревой расходомер становится нестабильным или даже перестает работать после установки?
Свяжитесь с нами

Если вам нужна помощь, пожалуйста, не стесняйтесь связаться с нами

Почему вихревой расходомер становится нестабильным или даже перестает работать после установки?


Сталкивались ли вы когда-нибудь с вихревым расходомером, который показывает низкую точность, большие колебания сигнала или даже полную потерю сигнала после установки?

Во многих случаях основная причина заключается не в самом приборе, а в неправильном выборе размера и методе установки. Вихревые расходомеры очень чувствительны к профилю скорости, режиму потока и конфигурации трубопровода. Небольшие отклонения в этих деталях могут привести к существенным ошибкам измерений.

В этой статье на основе отраслевых стандартов и проверенных экспериментальных исследований объясняются ключевые инженерные принципы, лежащие в основе правильного определения размеров, выбора переходника и требований к прямым трубам.


1. Выбор счетчика для широкого диапазона регулирования: почему часто необходимо уменьшение диаметра

Чтобы добиться широкий динамический диапазон и обеспечить достаточную мощность сигнала при низких скоростях потока, обычной инженерной практикой является уменьшить диаметр расходомера относительно трубопровода для увеличения скорости жидкости.

Для расходомеры, зависящие от профиля скорости — например:

  • Вихревые расходомеры
  • Вихревые (вихревые прецессионные) расходомеры
  • Электромагнитные расходомеры

такое согласование диаметров обычно достигается с помощью концентрические переходники .


Общий принцип определения размера

  • В большинстве приложений номинальный диаметр расходомера должен быть равен или меньше диаметра трубы .
  • Для vortex flowmeters, the calculated meter size is often на один-два номинальных размера меньше чем трубопровод.

Пример

  • Трубопровод: 8" (DN200)
  • Вихревой расходомер: 4" (DN100)

В особых случаях — например, Коммерческий учет масла или измерение азота при низком расходе — даже более значительные сокращения могут быть применены для удовлетворения экстремальных требований по диапазону регулирования.

Однако избыточный размер остается частой проблемой. В нескольких проектах были выбраны вихревые расходомеры. слишком большой , в результате чего:

  • Недостаточная скорость при нормальной работе
  • Работа за пределами эффективного диапазона измерения
  • Сильная нестабильность сигнала после ввода в эксплуатацию.

Примечание по делу:

Для nitrogen service with a 4" pipeline selected for start-up demand, installing a 1/2" vortex flowmeter represents an extreme reduction. Both the pipeline sizing logic and the meter selection require careful revaluation.


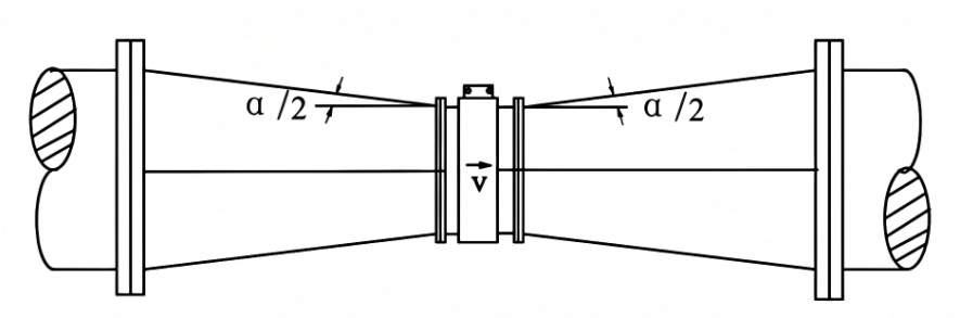
2. Выбор переходника: всегда используйте концентрические переходники.

Если при установке вихревого расходомера требуется уменьшение или расширение диаметра трубы:

Необходимо использовать концентрические переходники.

Эксцентриковые переходники создают асимметричные профили скорости, что значительно ухудшает точность измерений в приборах, чувствительных к скорости.


3. Требования к прямым трубам для установок уменьшенного диаметра.

Требования к геометрии редуктора


Чтобы минимизировать искажения потока:

  • угол конуса α переходника не должен превышать 15°.
  • При этом условии переходник можно рассматривать как часть прямой трубы.

Оба Переходники выше и ниже по потоку должны быть концентрическими, постепенными переходниками.


4. Минимальные требования к прямой длине восходящего потока (типовые значения)



Тип возмущения в восходящем направлении

Общая требуемая прямая длина

Никаких помех

15Д

Концентрический переходник

15Д

Концентрический эспандер

18Д

Одинарное колено 90°

20Д

Два колена 90° (в одной плоскости)

25Д

Два колена по 90° (разные плоскости)

40Д

Клапан

50Д

D = внутренний диаметр трубы


5. Общие условия установки вихревых расходомеров.


Правильно установленный вихревой расходомер должен отвечать следующим условиям:

а) Устанавливается горизонтально или вертикально (для жидкостей: направление потока снизу вверх) в трубе, соответствующей номинальному диаметру.

b) Соответствующие, беспрепятственные прямые трубы вверх и вниз по течению, как указано.

в) Соосность с трубопроводом; прокладки не должны попадать в поток

г) Многосекционный трубопровод должен оставаться прямым с минимальным смещением осей.

д) Измерение температуры:

  • Предпочтительно через встроенную защитную гильзу
  • В противном случае найдите датчик 2–5D ниже по потоку

е) Измерение давления:

  • Предпочтительно через встроенный датчик давления.
  • В противном случае найдите постукивание 2–7D ниже по течению

g) Отсутствие клапанов или байпасных линий на прямых участках трубы.

h) Отсутствие клапанов регулирования расхода перед счетчиком.

i) Если присутствуют пузырьки газа или примеси, установите сепараторы или фильтры. выше прямой дороги

6. Типичные длины прямых труб (измерения в закрытом кабелепроводе)

Восходящая конфигурация

Длина вверх по течению

Длина вниз по течению

Концентрический переходник fully open gate valve

≥15D

≥5D

Одинарное колено 90°

≥20D

≥5D

Два колена 90° (в одной плоскости)

≥25D

≥5D

Два колена по 90° (разные плоскости)

≥40D

≥5D


7. Расположение клапана и аспекты двухфазного потока.

  • Избегайте клапанов или байпасов рядом с расходомером.
  • Редукционные клапаны могут вызвать изменение фазы на выходе.
  • Двухфазного потока (газ в жидкости или жидкость в газе) следует избегать.
  • При необходимости используйте газосепараторы или фильтры на входе.


8. Почему следует избегать эксцентриковых переходников

Массовые расходомеры Кориолиса и объемные расходомеры не зависят от профиля скорости.

Все остальные расходомеры зависят от профиля скорости и требуют прямых участков труб до и после.

Ключевые отраслевые рекомендации:

  • Требования к установке устройств перепада давления должны соответствовать ИСО 5167-1
  • Для other flowmeters, manufacturer installation guidelines must be strictly followed
  • Эксцентриковые редукторы серьезно нарушают профили скорости. и не должен использоваться рядом с измерителями, зависящими от скорости.


9. Влияние концентрических редукторов на профиль скорости (экспериментальные данные)

Экспериментальные исследования, проведенные TNO и Delft Hydraulics с помощью воздуха и воды продемонстрировать:

  • Концентрический переходник с соотношением диаметров D_метр / D_трубы ≈ 0,44 может преобразовать асимметричный профиль скорости в почти симметричный (асимметрия < 2%)
  • downstream velocity profile resembles a профиль скорости пробкового типа (ПТВП)
  • В 5D вниз по течению , профиль остается стабильным в:
    Re = 50 000–250 000 (воздух)
    Re = 20 000–500 000 (вода)
  • Концентрические переходники не устраняйте завихрение , особенно вызванное пространственными изгибами
  • Устройства дезавихрения могут потребовать длина ≥6D , в зависимости от шага вихря


Краткое изложение результатов

  • Концентрические переходники significantly improve velocity symmetry
  • y do not remove swirl
  • Только концентрические переходники обеспечивают это преимущество.
  • Эксцентриковые редукторы приводят к серьезным искажениям скорости.


10. Требования к прямым трубам для установок уменьшенного диаметра.

(D_метр / D_трубы ≤ 0,7)

Тип счетчика «А»

Выше по течению «Б»

Ниже по течению «С»

Дополнительная длина нижестоящего регулирующего клапана

Вихрь

5 5 25

вихрь

3 1 25

Кориолис

Н/Д

Н/Д

30

Ультразвуковой

5 5

Обратитесь к производителю

rma

5 5 Н/Д

Электромагнитный

5 5

Н/Д


Заключительный инженерный вывод

Когда вихревой расходомер работает неэффективно, причиной редко является «качество прибора».

Чаще всего это проблема системного уровня с участием:

  • Неправильный выбор диаметра.
  • Неправильный тип редуктора
  • Недостаточная длина прямой трубы
  • Искаженный профиль скорости

Correct sizing концентрические переходники disciplined piping design являются основой стабильного и точного измерения вихревого потока.

Если вы правильно спроектируете поле потока, прибор выполнит свою работу.